2021年7月,孟羽童在《初入职场的我们》受到了格力电器董事长董明珠的赏识。而在中国制造业领袖峰会现场,董明珠曾表示,“要将孟羽童培养成第二个董明珠,这无疑让孟羽童获得了大量的关注

在董明珠扬言要“把孟羽童培养成第二个董明珠”之后,孟羽童抖音粉丝暴涨,达到了100多万,其发布的《我就是那个被董明珠选中的22岁女生》点赞量高达92w。
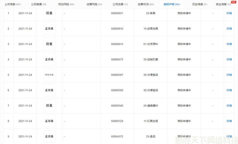
对此当当网创始人李国庆曾指出,这一看就是炒作,目的就是为了直播带货,要自己孵化网红。如今李国庆的预言已成现实:天眼查App显示,11月24日,珠海格力电器股份有限公司申请注册多个“明珠羽童”“孟羽童”“羽童”商标,国际分类含广告销售、科学仪器、方便食品等,当前商标状态均为申请中。


在小编看来“格力申请孟羽童商标”是明智之举,因为在孟羽童爆火之后,已有多家公司开始了对其相关商标的抢注,而其又不是公众所熟知的商标,因此有可能被抢注成功。

那如果被抢注了商标怎么办?
根据我国《商标法》规定,商标专用权只能通过商标注册取得,采用申请在先原则。即谁先申请注册,谁就拥有该商标的专用权。
如果个人媒体或企业使用的是未注册的商标,一旦商标被他人成功抢注,就可能就无法再继续使用该商标,并且之前花费在宣传该商标的人力、物力、财力都将付诸东流。

若企业不想遇到这样的情况,就得在带货直播之前,先去把相关的商标注册了再进行直播带货,这样不仅有助于消费者记住这个品牌,也可以提升自己主播的市场竞争力。不然等直播间火了、主播的名气大了再注册商标,其后果可不一定是自己能承担得起的。当然,像格力这样能打得起官司的公司除外。而其他小公司要么改名重来,要么花一大笔钱把商标买回来,不管选哪种方式都很费时又费钱。
总之,为了避免被卷入商标抢注、商标侵权的案件中,还是要及时做好周全的商标保护。在这方面上,格力公司就做得很不错。
新胜天下网络科技
新胜天下网络科技,专业提供品牌网站建设、手机网站制作、小程序制作、网站优化,网络推广,SAAS/CRM系统代理、互联网广告全渠道投放,定制网络营销方案等服务。
合作品牌有:百度,腾讯,今日头条,知乎,抖音等主流互联网信息平台。可根据企业的自身产品和服务定制全网营销互联网广告投放方案。
助力中小企业成长,为中小企业赋能!












